Application module: Analysis assignment ISO/TS 10303-1474:2010-03(E)
© ISO

Cover page
Table of contents
Copyright
Foreword
Introduction
1 Scope
2 Normative references
3 Terms, definitions and abbreviations

4 Information requirements
   4.1 Required AM ARM
   4.2 ARM type definition
   4.3 ARM entity definitions
5 Module interpreted model
   5.1 Mapping specification
   5.2 MIM EXPRESS short listing
     5.2.1 MIM type definition
     5.2.2 MIM entity definitions

A MIM short names
B Information object registration
C ARM EXPRESS-G   EXPRESS-G
D MIM EXPRESS-G   EXPRESS-G
E Computer interpretable listings
Bibliography
Index

Mapping tableIndex of EXPRESS-G pagesFirst pagePrevious page
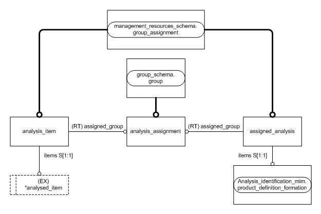
Figure D.2 — MIM entity level EXPRESS-G diagram 1 of 1 ../../resources/product_definition_schema/product_definition_schema.htm#product_definition_schema.product_definition_formation ../../resources/group_schema/group_schema.htm#group_schema.group ../../resources/management_resources_schema/management_resources_schema.htm#management_resources_schema.group_assignment ../analysis_assignment/sys/5_mim.htm#analysis_assignment_mim.analysed_item ../analysis_assignment/sys/5_mim.htm#analysis_assignment_mim.analysis_assignment ../analysis_assignment/sys/5_mim.htm#analysis_assignment_mim.analysis_item ../analysis_assignment/sys/5_mim.htm#analysis_assignment_mim.assigned_analysis


Figure D.2 — MIM entity level EXPRESS-G diagram 1 of 1


© ISO 2009 — All rights reserved