Application module: Textual expression representation ISO/TS 10303-1367:2010-03(E)
© ISO

Cover page
Table of contents
Copyright
Foreword
Introduction
1 Scope
2 Normative references
3 Terms, definitions and abbreviations

4 Information requirements
   4.1 Required AM ARMs
   4.2 ARM type definitions
   4.3 ARM entity definitions
5 Module interpreted model
   5.1 Mapping specification
   5.2 MIM EXPRESS short listing
     5.2.1 MIM type definitions
     5.2.2 MIM entity definitions

A MIM short names
B Information object registration
C ARM EXPRESS-G   EXPRESS-G
D MIM EXPRESS-G   EXPRESS-G
E Computer interpretable listings
Bibliography
Index

Mapping tableIndex of EXPRESS-G pagesFirst pagePrevious page
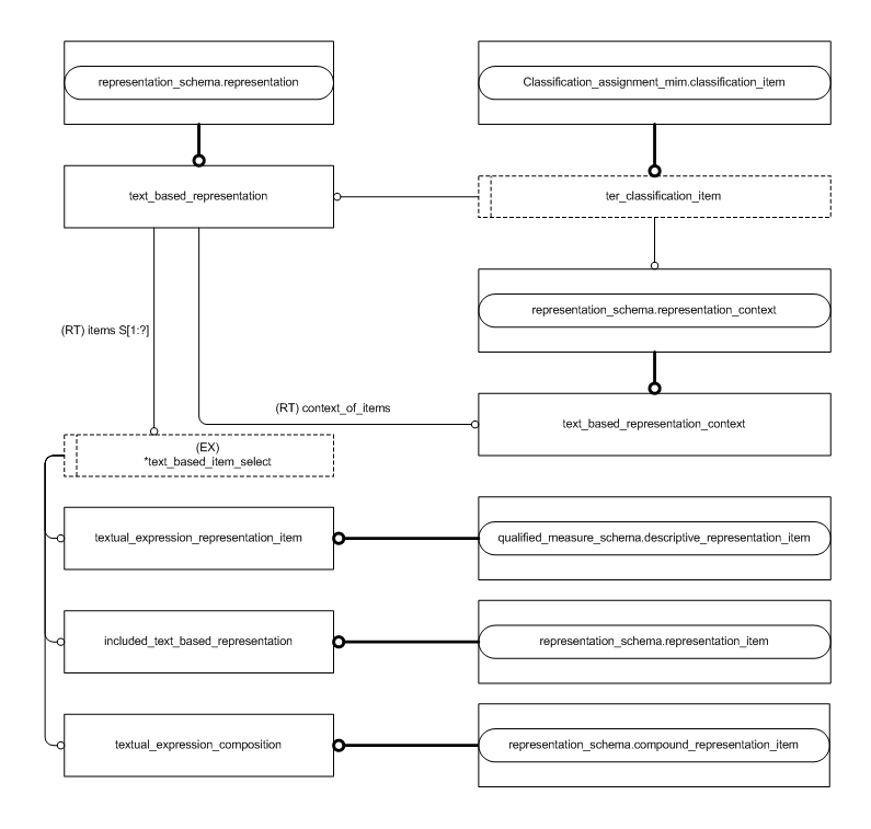
Figure D.2 — MIM entity level EXPRESS-G diagram 1 of 1 ../classification_assignment/sys/5_mim.htm#classification_assignment_mim.classification_item ../../resources/qualified_measure_schema/qualified_measure_schema.htm#qualified_measure_schema.descriptive_representation_item ../../resources/representation_schema/representation_schema.htm#representation_schema.representation ../../resources/representation_schema/representation_schema.htm#representation_schema.representation_item ../../resources/representation_schema/representation_schema.htm#representation_schema.representation_context ../../resources/representation_schema/representation_schema.htm#representation_schema.compound_representation_item ../../resources/representation_schema/representation_schema.htm#representation_schema.representation_map ../textual_expression_representation/sys/5_mim.htm#textual_expression_representation_mim.ter_classification_item ../textual_expression_representation/sys/5_mim.htm#textual_expression_representation_mim.text_based_item_select ../textual_expression_representation/sys/5_mim.htm#textual_expression_representation_mim.included_text_based_representation ../textual_expression_representation/sys/5_mim.htm#textual_expression_representation_mim.text_based_representation ../textual_expression_representation/sys/5_mim.htm#textual_expression_representation_mim.text_based_representation_context ../textual_expression_representation/sys/5_mim.htm#textual_expression_representation_mim.textual_expression_composition ../textual_expression_representation/sys/5_mim.htm#textual_expression_representation_mim.textual_expression_representation_item


Figure D.2 — MIM entity level EXPRESS-G diagram 1 of 1


© ISO 2009 — All rights reserved