Application module: Justification ISO/TS 10303-1263:2010-03(E)
© ISO

Cover page
Table of contents
Copyright
Foreword
Introduction
1 Scope
2 Normative references
3 Terms, definitions and abbreviations

4 Information requirements
   4.1 Required AM ARMs
   4.2 ARM type definitions
   4.3 ARM entity definitions
5 Module interpreted model
   5.1 Mapping specification
   5.2 MIM EXPRESS short listing
     5.2.1 MIM type definitions
     5.2.2 MIM entity definitions

A MIM short names
B Information object registration
C ARM EXPRESS-G   EXPRESS-G
D MIM EXPRESS-G   EXPRESS-G
E Computer interpretable listings
Bibliography
Index

Mapping tableIndex of EXPRESS-G pagesNext pageLast page
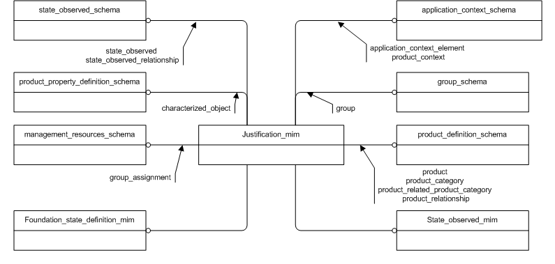
Figure D.1 — MIM schema level EXPRESS-G diagram 1 of 1 ../justification/mimexpg2.htm ../../resources/group_schema/group_schema.htm#group_schema ../../resources/management_resources_schema/management_resources_schema.htm#management_resources_schema ../../resources/product_definition_schema/product_definition_schema.htm#product_definition_schema ../foundation_state_definition/mimexpg1.htm ../state_observed/mimexpg1.htm ../../resources/product_property_definition_schema/product_property_definition_schema.htm#product_property_definition_schema ../../resources/application_context_schema/application_context_schema.htm#application_context_schema ../../resources/state_observed_schema/state_observed_schema.htm#state_observed_schema


Figure D.1 — MIM schema level EXPRESS-G diagram 1 of 1


© ISO 2009 — All rights reserved