Application module: Risk definition ISO/TS 10303-1786:2011-10(E)
© ISO

Cover page
Table of contents
Copyright
Foreword
Introduction
1 Scope
2 Normative references
3 Terms, definitions and abbreviated terms
    3.1 Terms and definitions
    3.2 Abbreviated terms

4 Information requirements
   4.1 Required AM ARMs
   4.2 ARM type definitions
   4.3 ARM entity definitions
5 Module interpreted model
   5.1 Mapping specification
   5.2 MIM EXPRESS short listing
     5.2.1 MIM type definition
     5.2.2 MIM entity definition

A MIM short names
B Information object registration
C ARM EXPRESS-G   EXPRESS-G
D MIM EXPRESS-G   EXPRESS-G
E Computer interpretable listings
F Change history
Bibliography
Index

Mapping tableIndex of EXPRESS-G pagesFirst pagePrevious pageNext pageLast page
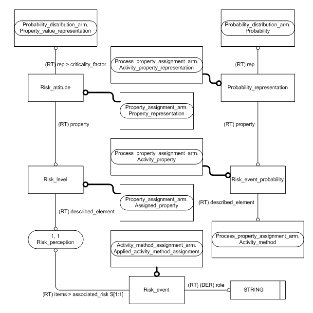
Figure C.3 — ARM entity level EXPRESS-G diagram 2 of 3 ../activity_method_assignment/sys/4_info_reqs.htm#activity_method_assignment_arm.applied_activity_method_assignment ../probability/sys/4_info_reqs.htm#probability_arm.probability ../measure_representation/sys/4_info_reqs.htm#measure_representation_arm.property_value_representation ../process_property_assignment/sys/4_info_reqs.htm#process_property_assignment_arm.activity_property_representation ../process_property_assignment/sys/4_info_reqs.htm#process_property_assignment_arm.activity_property ../activity_method/sys/4_info_reqs.htm#activity_method_arm.activity_method ../property_assignment/sys/4_info_reqs.htm#property_assignment_arm.assigned_property ../property_assignment/sys/4_info_reqs.htm#property_assignment_arm.property_representation ../risk_definition/sys/4_info_reqs.htm#risk_definition_arm.probability_representation ../risk_definition/sys/4_info_reqs.htm#risk_definition_arm.risk_attitude ../risk_definition/sys/4_info_reqs.htm#risk_definition_arm.risk_event ../risk_definition/sys/4_info_reqs.htm#risk_definition_arm.risk_event_probability ../risk_definition/sys/4_info_reqs.htm#risk_definition_arm.risk_level ./armexpg2.htm


Figure C.3 — ARM entity level EXPRESS-G diagram 2 of 3


© ISO 2011 — All rights reserved