Application module: Task specification ISO/TS 10303-1262:2010-03(E)
© ISO

Cover page
Table of contents
Copyright
Foreword
Introduction
1 Scope
2 Normative references
3 Terms, definitions and abbreviations

4 Information requirements
   4.1 Required AM ARMs
   4.2 ARM type definitions
   4.3 ARM entity definitions
   4.4 ARM subtype constraint definitions
5 Module interpreted model
   5.1 Mapping specification
   5.2 MIM EXPRESS short listing
     5.2.1 MIM type definitions
     5.2.2 MIM entity definitions
     5.2.3 MIM subtype constraint definitions

A MIM short names
B Information object registration
C ARM EXPRESS-G   EXPRESS-G
D MIM EXPRESS-G   EXPRESS-G
E Computer interpretable listings
Bibliography
Index

Mapping tableIndex of EXPRESS-G pagesFirst pagePrevious page
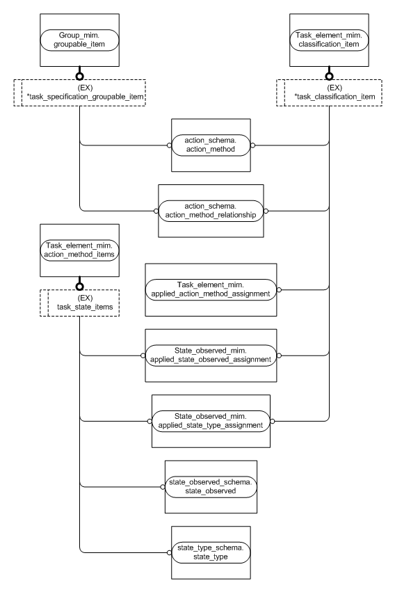
Figure D.3 — MIM entity level EXPRESS-G diagram 2 of 2 ../../resources/action_schema/action_schema.htm#action_schema.action_method_relationship ../../resources/action_schema/action_schema.htm#action_schema.action_method ../group/sys/5_mim.htm#group_mim.groupable_item ../state_observed/sys/5_mim.htm#state_observed_mim.applied_state_observed_assignment ../foundation_state_definition/sys/5_mim.htm#foundation_state_definition_mim.applied_state_type_assignment ../../resources/state_observed_schema/state_observed_schema.htm#state_observed_schema.state_observed ../../resources/state_type_schema/state_type_schema.htm#state_type_schema.state_type ../activity_method_assignment/sys/5_mim.htm#activity_method_assignment_mim.applied_action_method_assignment ../classification_assignment/sys/5_mim.htm#classification_assignment_mim.classification_item ../activity_method_assignment/sys/5_mim.htm#activity_method_assignment_mim.action_method_items ../task_specification/sys/5_mim.htm#task_specification_mim.task_classification_item ../task_specification/sys/5_mim.htm#task_specification_mim.task_specification_groupable_item ../task_specification/sys/5_mim.htm#task_specification_mim.task_state_items


Figure D.3 — MIM entity level EXPRESS-G diagram 2 of 2


© ISO 2009 — All rights reserved